Ластівка 16 (131м²)
- Загальна площа:131 м²
- Габарити будинку:9.06 м х 10.8 м
- Фундаменти:Стрічкові монолітні залізобетонні
- Зовнішні стіни:Газобетонний блок 400 мм
- Перекриття:Залізобетонні панелі, Залізобетонні панелі
- Покрівля:Плоска
- Покрівельне покриття:наплавлювана полімерно-бітумна мембрана Сполімод
| Параметр | Дані |
|---|---|
| Несуча здатність грунту | |
| Фундаменти | Стрічкові монолітні залізобетонні |
| Стіни | Газобетонний блок 400 мм |
| Покрівельні покриття | наплавлювана полімерно-бітумна мембрана Сполімод |
| Кількість поверхів | 2 |
| Конфігурація другого поверху | повний |
| Пол першого поверху | По грунту |
| Висота першого поверху | м |
| Перекриття першого поверху | Залізобетонні панелі |
| Перекриття другого поверху | Залізобетонні панелі |
Проект сучасного будинку з плоскою покрівлею з п'ятьма спальнями та терасою
Проект "Ластівка 16" - це проект сучасного двоповерхового будинку з плоским дахом. У будинку чотири спальні господарів, що знаходяться на другому поверсі. Невеликий кабінет або спальня для гостей розташовані на першому поверсі. На кожному поверсі розташований санвузол. Кухня об'єднана із вітальнею. З тамбура передбачено вхід до котельні.
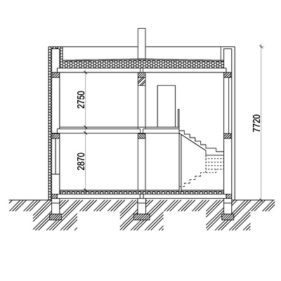
Для будинку за проектом "Ластівка 16" розроблені стрічкові фундаменти з монолітного залізобетону. Фундаменти розроблені для однорідних не просідаючих ґрунтів. Передбачено, що грунтові води знаходяться нижче основи фундаменту. Глибина промерзання 1 м. Зовнішні стіни з газобетонних блоків завтовшки 40 см, внутрішня стіна — цегляна завтовшки 38 см.
Перегородки з газобетонних блоків завтовшки 10 см. Перекриття над першим та другим поверхом залізобетонні панелі. Покрівля плоска.
Утеплення підлоги - 15 см. Зовнішні стіни облицьовані утеплювачем 10 см. Утеплення перекриття другого поверху 35 см.



Залиште Ваш комментар